中建二局&瑞祥模具:T型焊缝特定位置危害性缺陷的超声纵-横波串列式扫查
由于其结构及受力特点较为特殊,T型焊接接头除了可能产生常见的焊接缺陷外,在翼板侧还可能产生层状撕裂(图1);另外,操作不当时,在翼板侧还可能产生未熔合、未焊透缺陷(图2),此类缺陷都是面积型危害缺陷,且都平行于翼板、垂直于腹板侧探测面。

图1 翼板侧撕裂示意

图2 翼板侧未熔合、未焊透示意
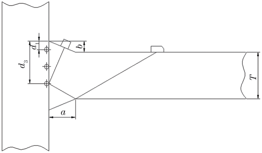
如图3所示,GB/T 11345-2023规定“T型接头检测需从腹板侧位置1或/和位置2用横波斜探头进行扫查,另还需在翼板外侧位置3用纵波直探头进行扫查,如果在位置3不能扫查,需从位置1或位置2使用串列检测技术代替”。该规定中,纵波直探头和串列检测技术都是针对以上介绍的危害性缺陷的有效检测方法。

图3 T型焊缝检测时探头位置示意
由于T型焊缝腹板两侧焊趾的存在,因探头前沿的限制,薄板T型焊缝无法采用双斜探头串列扫查;另外,厚板T型焊缝使用常规双斜探头串列式扫查方法也存在较大盲区。
基于此,中国建筑第二工程局有限公司和山东瑞祥模具有限公司的技术人员采用直探头在角焊缝表面进行纵波垂直入射,纵波在翼板侧熔合面的未熔合、未焊透或其附近垂直于腹板侧探测面的层状撕裂等面状缺陷上产生变形横波反射至腹板下表面后再反射回上表面,在腹板上表面利用横波探头就能接收到此信号,纵横波串列扫查声束路线如图4所示。该方法有效地避免了以上检测盲区的发生。

图4 纵-横波串列扫查声束路线示意
纵-横波串列式扫查的理论基础
对于纵-横波串列式扫查来说,接收信号横波斜探头角度的选择是非常重要的。常用横波斜探头入射角度分别为45°,60°,70°。下面分别对此3种角度探头能否作为接收信号的探头进行分析,纵-横波串列扫查声束角度与传播路线示意如图5所示(该图仅作为位置编号示意)。

图5 纵-横波串列扫查声束角度与传播路线示意
当选择45°横波斜探头为接收探头时:
∠3为45°,∠2=90°-45°=45°,跟据反射定律公式有sin α/5950=sin 45°/3230,得到sin α=1.3,实际是不可能的,因此45°横波斜探头不可用于接收信号。
当选择70°横波斜探头为接收探头时: ∠2=90°-70°=20°,跟据反射定律计算得α≈39°,即∠1=39°,腹板面与角焊缝表面的夹角∠4=90°-39°=51°。 GB 50661-2011规定“对接与角接组合焊缝,加强角焊缝高度尺寸不应小于t/4且不应大于10 mm”。随着腹板厚度t的增加,焊脚宽度a增加,而加强角焊缝高度b不大于10 mm,如腹板稍厚,腹板表面与角焊缝表面的夹角就无法满足检测角度要求,因此70°横波斜探头也不适用。 当选择60°横波斜探头为接收探头时: ∠2=90°-60°=30°,跟据反射定律计算得α≈67°,即∠1=67°,腹板表面与角焊缝表面的夹角∠4=90°-67°=23°。 根据纵波入射到钢/空气界面时的反射横波声压反射率计算公式得出,当纵波入射角α=67°时,反射横波的声压反射率RSL≈49%,变型横波的声压反射率足够大,能被横波斜探头接收到,腹板表面与角焊缝表面的夹角∠4=23°也符合T型焊缝形状尺寸要求,因此60°横波斜探头满足用于信号接收的要求。
纵-横波串列式扫查方法的模拟验证
采用30 mm厚的Q235B钢板,焊接3件长为160 mm的T型角焊缝,1号试块无缺陷;2号试块采用机加工方法制作3 mm宽的矩形槽,槽底位于焊缝翼板熔合线位置;3号试块在翼板熔合线与腹板中心交点位置制作φ3 mm长横孔。
模拟缺陷相关信息如表1所示,试块结构如图6所示,实物试块如图7所示。
表1 模拟缺陷的信息 图6 含模拟缺陷试块结构示意 图7 含模拟缺陷试块实物 模拟缺陷布置的目的包括: ① 验证试验的缺陷布置在腹板厚度方向的中心处没有特殊意义; ② 采用该串列扫查方式,只要缺陷不在盲区内都能检测到; ③ 两缺陷布置在同一深度是为了进行数据对比。 超声仪型号为CTS-9009 PLUS;纵波直探头型号为SIUI5C10N,频率为5 MHz,晶片直径为10 mm;横波斜探头型号为SIUI5Z10×10A60,频率为5 MHz,晶片尺寸为10 mm×10 mm,折射角为60°。扫描调整:纵波单收发,时基线比例为声程1∶1.5,满量程150 mm;纵波直探头位置放置在角焊缝上。 横波斜探头在探测面对准直探头方向前后移动,找到各反射体的最高反射回波,调节增益,使波高达满屏高度的80%,模拟试块测试数据如表2所示。 表2 含模拟缺陷试块的测试数据 由表2可知,纵-横波串列式扫查T型角焊缝时,横波接收探头入射点位置与理论值最大误差不超过2 mm,声程显示数值与理论计算值最大不超过3 mm,同位置3 mm宽槽型反射体反射量比φ3 mm长横孔反射量高8 dB。 试验证明,进行翼板侧熔合面及其附近垂直于腹板扫查面的面状缺陷时可以通过在修磨后的T型焊接接头表面采用纵波入射,纵波在缺陷处反射时发生波型转换,并在腹板扫查面被横波探头接收,且反射波比同位置同尺寸横通孔的更强,方法可行。 焊角角度修磨精度对串列扫查的影响 纵-横波串列扫查的实际应用 T型焊缝串列扫查对比试块设计和结果评定 结 语







